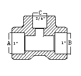
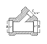
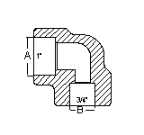
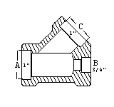
A variety of types most commonly required for piping systems are illustrated on this page. In these illustrations, each opening of the fitting is identified with a letter which indicates the sequence to be followed in reading the size of the fitting.
In designating the outlets of reducing fittings, the openings should be read in the order indicated by the sequence of the letters "A", "B", "C", and "D". The following information is based on ASME B16.11 and MSS SP-106.
Tee![]() Reducing on outlet (1 x 1 x 3/4) |
Tee![]() Reducing on one run (1 x 3/4 x 1) |
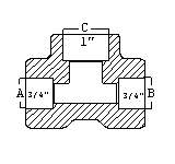
Tee![]() Reducing on one run and outlet (1 x 3/4 x 3/4) |
Tee![]() Reducing on both run (bullhead) (3/4 x 3/4 x 1) |
Cross![]() Reducing on one outlet (1 x 1 x 1 x 3/4) |
Cross![]() Reducing on both outlets (1 x 1 x 3/4 x 3/4) |
Cross![]() Reducing on one run and outlets (1 x 3/4 x 1 x 3/4) |
Cross![]() Reducing on one run and both outlets (1 x 3/4 x 3/4 x 3/4) |
Lateral![]() Reducing on branch (1 x 1 x 3/4) |
Lateral![]() Reducing on one run (1 x 3/4 x 1) |
Lateral![]() Reducing on one run and branch (1 x 3/4 x 3/4) |
Elbow![]() Reducing elbow (1 x 3/4) |